江苏锦瑞金属制品有限公司

Jiangsu Jinrui Metal Products Co., Ltd.

解析防爆电气设备对紧固件的要求
来源: | 作者:锦瑞 | 发布时间: 1178天前 | 587 次浏览 | 🔊 点击朗读正文 ❚❚ | 分享到:

       对于防爆设备(防爆正压柜,防爆分析小屋,防爆配电箱)来说,紧固件通常是保持其防爆型式完整性的重要部分,尤其隔爆型“d”及部分粉尘防爆型设备等必须采用特殊紧固件,它们起紧固隔爆接合面或保持外壳密封性的作用,对保证防爆型式的完整性至关重要。如果紧固件的螺距、公差配合等不达标,则易出现脱落、松动等问题,从而影响设备的防爆性能,形成安全隐患。因此,防爆设备应选用符合防爆标准要求并通过试验验证的紧固件,并只能用相同的紧固件进行更换。

图片

       隔爆型的防爆产品中,紧固件起着重要的作用,我们都知道隔爆型的电气设备就是利用隔爆外壳来做到拥有防爆的性能,如果紧固件出了什么问题,那么隔爆外壳与接合面就不会吻合,反而出现缝隙或者其他情况,那么隔爆产品就失去了隔爆的意义,所以紧固件在防爆产品中扮演着重要的角色。

       隔爆外壳的紧固螺栓的设计主要从螺栓强度、铸铝外壳螺纹牙强度、螺栓的预紧力矩的计算、螺栓的防松及精度等方面进行了设计。

1、强度:选用合适强度紧固件,保证外壳承受爆炸压力时使其不脱落;

2、盲孔:螺栓不带垫圈拧入外壳壁盲孔时,孔的底部要至少保留一扣的裕量;

3、保护:用弹垫圈,平垫圈,沉孔等方式进行紧固件的保护;

4、力矩:要在文件中规定拧紧力矩,安装时均按照规定值执行;

5、外侧装配:

(1)内六角 :紧固后得从螺孔中凸出

(2)I类设备 :头部具有护圀或沉孔,或通过设备内部保护

(3)II类设备:紧固件孔允许螺纹啮合的螺纹深度h,至少等于紧固件螺纹外径

6、材质要求:不允许用塑料材质和轻合金材质;

7、其它要求:

(1)用螺纹固定的门或盖,应另外借助内六角紧定螺钉或等效方法固定;

(2)双头螺钉应固定牢靠,用熔焊或铆牢或其它等效方式**性固定在外壳上;

(3)紧固件不应穿透隔爆外壳壁,除非它们与壳壁构成隔爆结合面且外壳不可分开

(4)当螺栓不带垫圈被完全拧入到隔爆外壳壁的盲孔中,孔的底部至少保持一整扣螺纹裕量;

(5)不穿透隔爆外壳壁的螺孔或双头螺栓,隔爆外壳壁剩余厚度至少是螺栓或双头螺栓直径的1/3,*小为3mm。

       隔爆外壳一般有两个型式:平面和止口。对于平面结构,螺栓不仅起紧固作用,还要保证平面间隙。对于止口结构,当隔爆面只考虑圆筒部分时,螺栓只起紧固作用,同时要保证平面部分的间隙作用。当在外壳上直接攻螺纹时应注意,紧固件螺孔尽量不要穿过隔爆外壳,穿过外壳时螺孔底部应留有3mm以上的余量,在使用铝合金等轻合金材料做隔爆外壳时,由于铝合金的强度较低,因此,要经常打开(如更换光源需要打开)的隔爆外壳使用螺钉紧固时,不应在铝合金外壳上直接攻螺纹,用通过预埋防松内外螺纹钢套来增加螺孔的强度,并防止因螺纹烂牙而失效。不要在用户更换光源或者维修时打开且出厂时就已经安装好的螺栓,可以在外壳上直接攻紧固螺孔,但不能使用细牙螺纹,尽量使用粗牙螺纹,且有足够的啮合扣数来满足紧固要求。

       总之,在设计外壳紧固件时,首先要分清楚隔爆外壳中的作用。是只起紧固作用,还是既起紧固作用还起保证平面间隙的作用,然后确认螺栓的*大轴向载荷选用合适的螺栓。

防爆设备紧固件的通用要求

1.1对保证专用防爆型式或用于防止触及裸露带电零件所必须的紧固件,只允许使用工具(如,螺丝刀、扳手等)才能松开或拆除。

1.2如果紧固件的材料适合于外壳材料,含轻金属的外壳用紧固件可以用轻金属或非金属材料制成。

1.3只有螺纹形状适合于外壳材料时,才可以在外壳上攻螺孔,用于安装在工作中可能打开的盖。

特殊紧固件的要求

螺纹的螺距、公差配合,螺栓(钉)头或螺母应符合相关标准要求。

2.1螺纹的螺距应符合GB/T 9144大螺距公制螺纹的要求,此系列是从GB/T 193规定的普通螺纹系列优选出来的,公称直径范围为1mm~64mm;螺纹的公差配合应符合GB/T 197和GB/T 2516中的6g /6H(数字表示公差等级,精度越高数值越小;字母表示公差带位置,外螺纹用小写字母,内螺纹用大写字母)。

2.2符合标准要求的标准件

2.2.1外六角螺栓应符合GB/T 5782或GB/T 5783的要求。

2.2.2 内六角圆柱头螺钉应符合GB/T 70.1的要求。

2.2.3 内六角紧定螺钉应符合GB/T 77(平端)、GB/T 78(锥端)、GB/T 79(圆柱端)或GB/T 80(凹端)的要求。

当采用其它螺栓(钉)头或螺母紧固件时,防爆设备上应标志“X”,并且在产品使用说明书中对这些紧固件进行详细规定,并说明只能用相同的紧固件进行更换。

2.3 特殊紧固件孔的要求

2.3.1特殊紧固件孔允许啮合的螺纹深度h应至少等于紧固件螺纹的外径(如图1)。

图片

图1:特殊紧固件孔允许啮合的螺纹深度h

2.3.2 特殊紧固件孔的螺纹公差应符合GB/T 197和GB/T 2516中6H,且应满足以下条件:

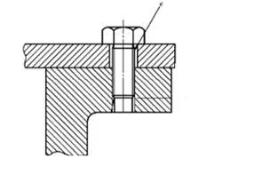
a) 螺栓头下面孔应按照GB/T 5277-1985不大于H13的中等装配的尺寸要求, 即图2中c部位间隙应不大于GB/T 5277-1985的 H13中等装配允许的*大间隙(如,M6螺栓配合的孔径应不大于Ф6.6)。

图片

图2:螺栓头下面孔与螺栓的配合间隙

b) 细杆螺栓头(或螺帽)下面的孔应攻丝,以保证螺栓不脱落。螺孔尺寸应保证与被连接件接触面积至少等于非细杆螺栓在光孔中的接触面积(图3中的“X”环形接触部分)。即细杆紧固螺栓与被连接件的接触尺寸X应不小于全螺纹紧固螺栓(见图2)的接触尺寸。

图片

图3:细杆紧固螺栓头与被紧固件的接触面

2.4 内六角紧定螺钉的要求

用于紧固螺纹盖的内六角紧定螺钉(如,防松用途),螺纹的公差配合应符合GB/T 197和GB/T 2516中的6g /6H,且在紧固以后不能从螺孔中凸出。